PS4もタブレット型コントローラー? Wii Uコンっぽい特許が見つかる
http://www.kotaku.jp/2012/02/sony_patent_tabret.html
タブコンが業界標準になっちゃうの?
2010年に米国特許庁に提出された、ソニーのゲーム連動タブレットデバイスをGamesBeatが紹介してくれました。
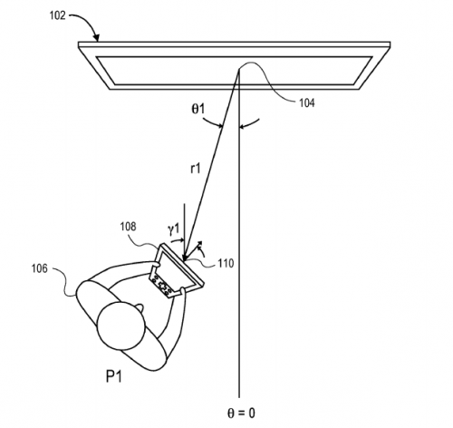
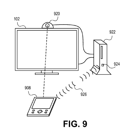
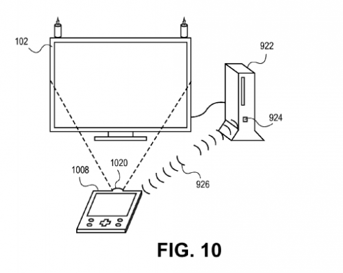
「位置連動ゲーム3Dコントローラー」と名付けられた、タブレット型PC&物理コントローラーを足したような本ガジェット。単なるタブレットに留まらず、位置連同機能のおかげでプレイヤーが動けばゲーム内でも反映されます。またAR機能も確認できます。(下画像参考)
コントローラーなのか独立したモバイルデバイスなのか明記されていませんが、先日発表されたWiiUコントローラーを連想せずにはいられませんね。iPadが発表された2010年に、すでにゲームと連動させた動きがあったことは少々驚きです。
あくまで特許なだけで、具体的な商品化は一切未定。とはいえ次世代PSがWiiUと似たシステムになる可能性も出てきましたね。
またパクんのけ(´・ω・`)?
911 名前:名無しさん必死だな投稿日:2012/02/06(月) 16:06:51.33 ID:LcFnLX8b0
なんで所々に陰毛が散りばめてあるんですかねぇ
921 名前:名無しさん必死だな投稿日:2012/02/06(月) 16:08:31.74 ID:CaKhOIirP
まーたパクるのか
ほんとVUTA野郎だな
923 名前:名無しさん必死だな投稿日:2012/02/06(月) 16:08:41.35 ID:wmZOcUJi0
感度の悪い劣化センサーバーを入れるくらいなら
コントローラー側にジャイロ入れて本体に情報送った方が…
932 名前:名無しさん必死だな投稿日:2012/02/06(月) 16:09:45.84 ID:OzODSVGSP
さすがにこれまでパクッたらSCE見下げるわ・・・





0 件のコメント:
コメントを投稿